GZV微型电磁振动给料机
时间:2016-09-01 14:37:24



一、概述:
微型电磁振动给料机(GZV微型电磁振动给料机)广泛应用于轻工、化工、粮食加工、商业等行业。用于 粉状、颗粒状物料的给料、配料及定量自动包装等生产流程中,并可实现集中控制和自动控制,与其它形式给料机相比,具有体积小、重量轻、结构简单、耗电省、可无级调节给料量等特点。配用电磁振动给料机自动稳幅控制箱,可使其不受电源电压波动的影响,提高给料精度。
二、主要参数:

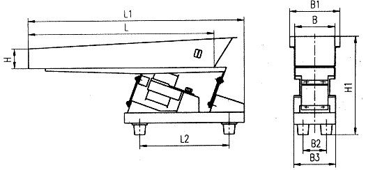
1.外形尺寸参数:
| 型号 | B | B1 | B2 | B3 | L | L1 | L2 | H | H1 |
| GZV1 | 40 | 60 | 50 | 80 | 200 | 273 | 92 | 20 | 155 |
| GZV2 | 60 | 80 | 50 | 80 | 300 | 374 | 95 | 30 | 168 |
| GZV3 | 80 | 110 | 60 | 100 | 400 | 480 | 224 | 40 | 222 |
| GZV4 | 100 | 130 | 70 | 120 | 500 | 568 | 310 | 50 | 256 |
| GZV5 | 120 | 150 | 70 | 120 | 550 | 630 | 310 | 60 | 295 |
| GZV6 | 200 | 240 | 120 | 180 | 600 | 760 | 440 | 70 | 300 |
2.技术参数:
| 型号 | GZV1 | GZV2 | GZV3 | GZV4 | GZV5 | GZV6 |
| 生产能力(T/h) | 0.1 | 0.5 | 1 | 2 | 4 | 6 |
| 双振幅(mm) | 1.5 | 1.5 | 1.5 | 1.5 | 1.5 | 1.5 |
| 振动频率(r/min) | 3000 | 3000 | 3000 | 3000 | 3000 | 3000 |
| 供电电压(V) | 220 | 220 | 220 | 220 | 220 | 220 |
| 有功功率(W) | 5 | 8 | 20 | 25 | 30 | 50 |
| 重量(kg) | 4 | 7 | 12 | 18 | 27 | 45 |
